日期:2023-08-24331
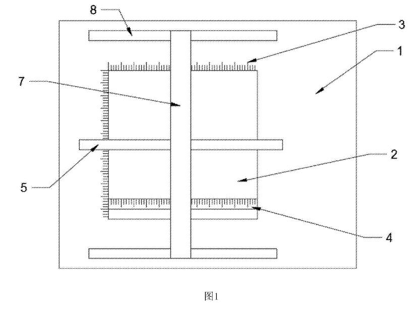
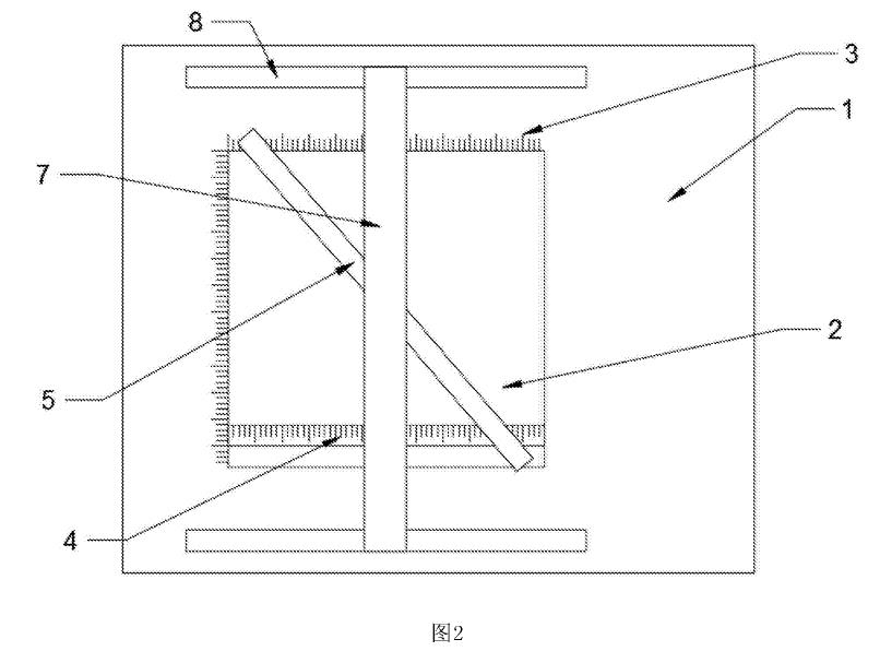
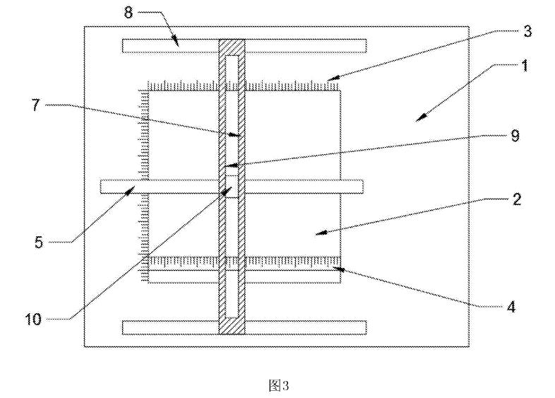
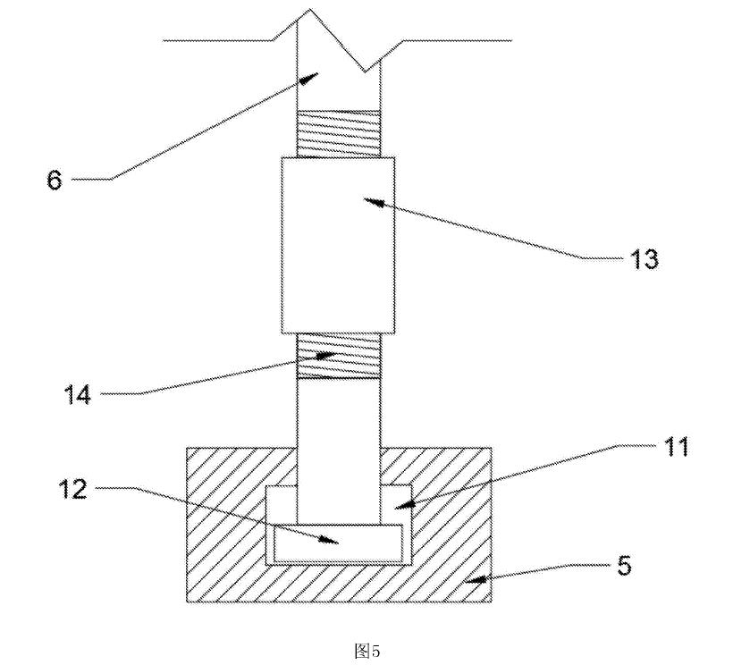
背景技术 玻璃在加工时需要对其进行切割,在进行斜向切割前需要依托测量尺对玻璃的一条边进行长度测量,并根据尺寸刻度标记所需点位,重复上述操作再对玻璃的另一条边标记所需点位,随后通过直尺等辅助工具连接两个点位,通过玻璃切割刀沿着切割线对玻璃进行切割。该切割方式不仅需要消耗大量时间来进行点位的标记,而且在连接点位进行切割时,若直尺没有按压紧导致直尺出现偏转,容易造成切割错误,需要重新连线,不仅费时,而且费力。 发明内容 本实用新型提供了一种玻璃加工用的切割打磨装置,将待切割的玻璃放入到放置槽内,将玻璃的顶端和相邻的侧边与放置槽的前端和侧壁抵接,滑动底杆与玻璃的底端抵接,形成对玻璃的三面夹持,通过放置槽前端、侧壁和底杆的三条刻度线,在玻璃上标记出切割线的起点和终点,将切割板旋转至切斜方向,通过移动组件带动可旋转的切割板连接标记的起点和终点,通过锁紧部件将切割板牢牢按压在玻璃顶面,通过切割刀沿着切割板方向划开玻璃,即可完成切割。 本装置既能用于直线切割玻璃,也能用于斜向切割玻璃,通过自带的刻度条无需再对玻璃进行手动测量,切割板完成定点后,可通过锁紧部件将切割板牢牢按压在玻璃顶面,防止切割过程中,切割板发生偏移造成切割失误,从而提高玻璃的切割效率和淮确率。 附图说明



