一种减少玻璃析晶的格法玻璃生产线成型室后墙结

日期:2026-01-2544

申请号  202320904821.2

 申请日 2023.04.20

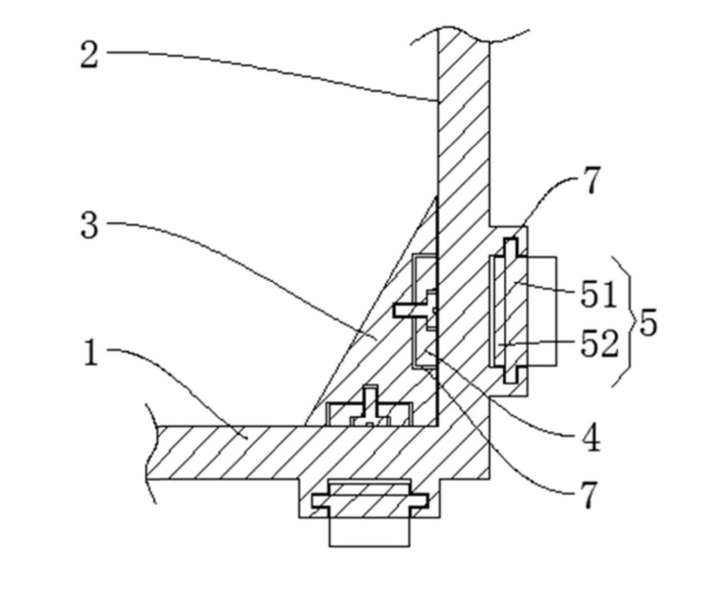
本实用新型属于格法玻璃生产线成型室结构技术领域,主要涉及一种减少析晶的格法玻璃生产线成型室后墙结构,包括池底和后墙,后墙上安装有剖面为直角三角形的三棱柱状砖体结构,该砖体包括底面、顶面、平侧面、 竖直侧面和倾斜侧面,水平侧面与竖直侧面垂直,水平侧面与池底贴合,竖直侧面与后墙贴合,倾斜侧面相对池底倾斜设置,该种后墙结构可以有效避免因直角结构的玻璃液回流过渡而形成的冷玻璃液死角问题,减小因温差带来的玻璃液局部对流,有效降低玻璃析晶,提高玻璃质量,利于提高生产过程的连续性;还能有效减轻对池壁的冲刷,提高窑炉使用寿命。

背景技术:

格法也叫格拉威伯尔平拉法,也叫深池平拉法,是比利时人对浅池平拉法的改进。格法工艺将无槽法和平拉法工艺有机结合起来,采用无槽法的成型池和平拉法的转向,达到从自由液面拉制平板玻璃的目的,可以顺利地拉制厚度为0.8至12毫米的玻璃。其最大特点是可以长期稳定生产3毫米以下的薄玻璃,并且平整度好,厚度差小,产品质量优异。

但是对于传统的格法成型来说,其成型室采用直角结构,玻璃液较深,上下温差大,成型温度接近玻璃的析晶温度,玻璃液容易在成型室后墙直角槽处形成回流区,在回流区处的玻璃液流动性差,温度较低,容易产生出现析晶,一般不到一个月就必须打炉停拉,加热成型室挖出玻璃析晶,以免析晶的玻璃扩展到玻璃带上。

本实用新型的目的是针对上述技术中存在的不足之处,提出一种减少玻璃析晶的格法玻璃生产线成型室后墙结构,在不影响玻璃成型,同时又保证生产安全性和可靠性的前提下,减少玻璃析晶,提高玻璃质量,利于提高生产过程的连续性。

图1 本实用新型某一实施例的结构示意图

图2 本实用新型某一实施例的剖视图


相关工程