一种平板玻璃退火用边部燃烧枪

日期:2025-12-1943

申请号:201620986553.3

申请日:2016.08.31

本实用新型属于玻璃成型技术领域,提出一种平板玻璃退火用边部燃烧枪。

背景技术:  

在中大型浮法玻璃生产线中提高超厚、超薄玻璃总成品率是及其重要的,制约这一指标的主要因素就是玻璃的退火,玻璃退火的目的就是消除玻璃板内部的不均匀的永久应力,其产生的原因是由于玻璃板横向温差和纵向温差造成的,为了减小玻璃板横向温差,在退火窑两侧不同区域架设边部燃烧枪,以弥补边部降温过快。目前,烧边火枪种类有很多,经发现现有技术中的燃烧枪存在不能灵活调节枪杆与玻璃板的角度、枪杆进深以及微调枪头的高度,不方便随时对玻璃板边部需加热位置的灵活调节。另外现有枪头多使用单排喷火孔,加热范围局限,不利于玻璃均匀加热。

发明内容:

本实用新型提出的一种平板玻璃退火用边部燃烧枪具有由枪杆(2)与枪杆进伸调节套管(9)构成;所述枪杆(2)的一端安装有枪头(1),所述枪杆(2)的另一端与压缩空气进气软管(8)连接,并在压缩空气进气软管(8)与枪杆(2)之间设置压缩空气流量调节阀(7);所述的枪杆(2)上还设置有与天然气进气软管(6)连接的支管,并在天然气进气软管(6)与枪杆(2)之间设置天然气流量调节阀(5):所述的边部燃烧枪还设置有与退火窑辊子支撑纵粱(12)连接的连接机构。本实用新型提出的一种平板玻璃退火用边部燃烧枪,通过枪杆调节板上的弧形滑槽可上下滑动枪杆,对枪头与玻璃板之间的距离进行微调,确保了玻璃板能够均匀加热。本实用新型确保了玻璃板能够均匀加热。

附图说明:

图1为本实用新型中枪体结构示意图

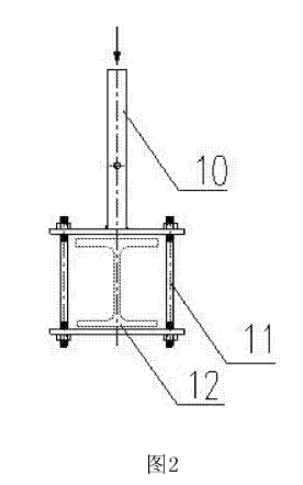
图2为本实用新型中连接机构的结构示意图

图3为本实用新型的使用状态图

图中:1、枪头,2、枪杆,3、枪杆调节板,4、连接杆,5、天然气流量调节阀,6、天然气进气软管,7、压缩空气流量调节阀,8、压缩空气进气软管,9、枪杆进伸调节套管,10、枪体固定套管,11、枪固定卡,12、退火窑辊子支撑纵梁,13、紧固螺栓,14、固定螺母,15、锁紧螺栓。



相关工程