玻璃熔窑窥视孔的密封机构

日期:2025-12-0425

申请号:201220731623.2

申请日:2012.12.27

本实用新型属于玻璃熔窑技术领域,主要涉及一种玻璃熔窑窥视孔的密封机构。

背景技术:  

玻璃熔窑窥视孔是在玻璃生产过程中操作人员观察熔窑配合料熔化的好坏,窑内火焰燃烧情况,及测量熔窑内温度的。窥视孔在玻璃结构设计中是必不可少的,使用效率比较高。以往设计中对窥视孔不进行密封,或者直接用耐火砖把窥视孔堵上;若不密封,火焰在此处冒火较严重,会造成对该处耐火砖烧蚀较厉害,更重要的是冷空气易从窥视孔处进入熔窑,影响熔窑作业制度的稳定,增加了燃料的消耗,造成了能源浪费;若用耐火砖堵上,由于该处温度比较高,堵砖温度也较高,堵砖易烧蚀,易对操作人员造成烫伤,并加大了操作人员的劳动强度。

发明内容:

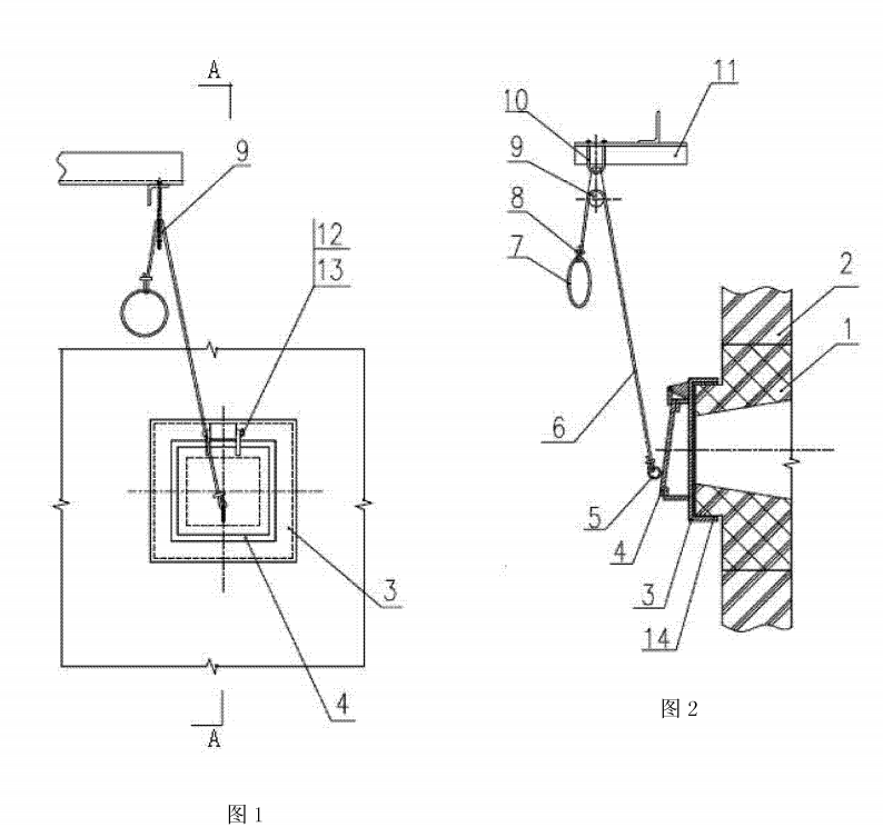
本实用新型属于玻璃熔窑技术领域,提出一种玻璃熔窑窥视孔的密封机构。所提出的一种玻璃熔窑窥视孔的密封机构包括窥视孔框架(3)和窥视孔密封门(4);玻窥视孔框架(3)套置在窥视孔砖(1)向外突出的凸台上,所述窥视孔框架(3)与所述窥视孔密封门(4)结合的外端面为斜面结构,所述窥视孔密封门(4)的上端与窥视孔框架(3)铰接连接,构成窥视孔密封门(4)靠重力与窥视孔框架(3)紧密结合,对窥视孔密封的结构;设置用以将窥视孔密封门(4)打开或关闭的提拉机构。本实用新型通过设置的窥视孔密封门和提拉机构,可非常方便的观察玻璃熔窑内状况或密封窥视孔,有效克服了现有窥视孔密封结构所存在的缺陷。

附图说明:

图1为本实用新型的结构示意图

图2为图1的A-A剖面图

图中:1、窥视孔砖,2、熔窑墙体,3、窥视孔框架,4、窥视孔密封门,5、吊环螺栓,6、钢丝绳,7、拉环,8、钢丝绳夹,9、定滑轮,10、U型螺栓,11、角阀,12、开口销,13、销轴,14、保温棉。


相关工程