全氧玻璃熔窑大碹用钢碹碴

日期:2025-07-24201

申请号:202021992057.1

申请日:2020.09.11

本实用新型属于浮法玻璃的制造技术领域,具体涉及一种浮法玻璃锡槽的玻璃带冷却降温装置。

背景技术:  

玻璃熔窑大碹由大碹砖、钢碹碴等构成,大碹砖的重力和水平推力靠钢碹碴和立柱拉条承担。普通玻璃熔窑大碹砖采用硅质耐火砖,而全氧玻璃熔窑因燃烧特性,需使用熔铸材料如电熔锆刚玉砖或电熔 α -β 刚玉砖,这些砖强度大、单重大、加工难,采用单环干砌,每节碹包含 4 - 5 环碹。由于大碹砖重力和水平推力大,对钢碹碴强度要求提高,且烤窑时每环碹受力不均,现有钢碹碴无法根据大碹砖膨胀情况单独调节,导致大碹砖易被击碎,影响熔窑强度、安全性和使用寿命,无法满足全氧燃烧需求。

发明内容:

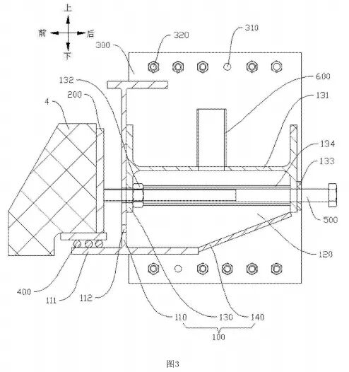
本实用新型提供全氧玻璃熔窑大碹用钢碹碴,包括钢框架和若干 L 形支撑件。钢框架左右侧壁有连接钢板可连熔窑立柱,前侧壁下端凸起的支撑部上设多个平行辊杆,L 形支撑件水平段置于辊杆上,其水平段和垂直段分别抵接大碹砖底壁和侧壁承载大碹砖,钢框架沿前后方向旋接顶丝,顶丝前端抵接 L 形支撑件垂直段,每个 L 形支撑件对应多个顶丝。通过调节顶丝松紧,使 L 形支撑件随大碹砖受热膨胀移动,保证大碹砖烤窑时均匀向后膨胀不受阻,维护大碹砖牢固性。此外,钢框架内有空腔,外接风管输送冷却风降温,还设置了加强筋板、通风孔等部件,进一步提升结构强度、保证冷却效果和设备稳定性,满足全氧燃烧生产要求。

附图说明:

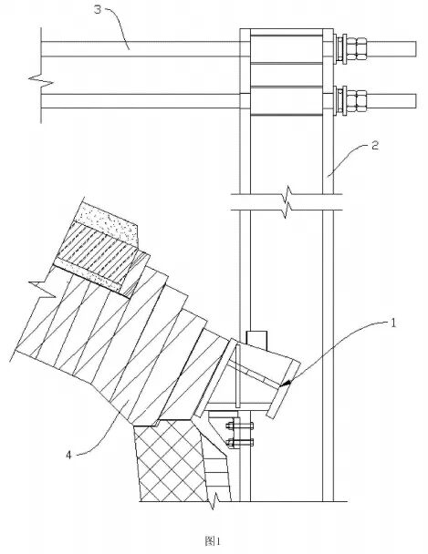
图1为现有的钢碹䂿安装在玻璃熔窑中的结构示意图;

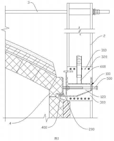
图2为本实用新型实施例安装在玻璃熔名中的侧视结构示意图;

图3为本实用新型实施例的侧视结构示意图;

图4为本实用新型实施例拆去L形支撑件的俯视结构示意图;

图5为图4中A-A处的剖视结构示意图。

图中:1、钢碹碴,2、立柱,3、拉条,4、大碹砖;

 100钢框架、110工形钢、111支撑部、112通风孔、120空腔、1301型钢、131水平横梁、132螺母、133密封垫、134套筒、140第一斜钢板、150加强筋板:2001形支撑件;300连接钢板、310第三通孔、320螺钉;400银杆、500顶丝、600外接风管。


相关工程